Опорные ролики с цапфой (хвостовиком) и эксцентриком серии NUKRE > ISO
Высококачественные опорные ролики в ассортименте реализует компания «ПодшипникРУ». В каталоге компании имеются изделия различного конструктивного исполнению, включая модели серии NUKRE.
Основные сведения о товаре
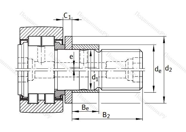
Продукция этой серии комплектуется цапфой (иное наименование, хвостовик) и эксцентрик, допускающие регулировку их положения при монтаже. Для этого предусмотрено специальное внутреннее отверстие (непосредственно в цапфе), имеющее шестигранную форму.
Конструктивно его могут размещать с той стороны (вариант, с противоположной).
Данное конструктивное решение обеспечивает необходимую точность установки наружной обоймы (если точнее, то образующей поверхности последней).
Это позволяет изготавливать сопрягаемые конструкции с более грубыми допусками (часто именуемыми свободными).
Ещё одним преимуществом является возможность более равномерного распределения нагрузок. Достигается это за счёт одновременного использования пары роликов (или большего их количества) и упрощённая сборка систем, выполняющих линейное перемещение (с предварительным натягом).
Максимальное (по высоте) положение, допустимое для эксцентрикового кольца, задаётся нанесением специальной метки (ставится на торцевой части цапфы). Величину требуемого эксцентриситета можно уточнить в специальных размерных таблицах.
В этом же кольце размещены одно (и более, в зависимости от модели) смазочных отверстия. Их располагают в тех зонах дорожки качения, которые являются ненагруженными.
Минусом является невысокая допустимая скорость вращения (в сравнении с изделиями, имеющими сепаратор).




















